Discos imprimibles
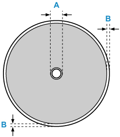
El área de impresión de los discos imprimibles va desde los 17 mm (0,67 pulgadas) del diámetro interno a 1 mm (0,04 pulgadas) del diámetro externo de la superficie de impresión.

Área imprimible
- A: 17,0 mm (0,67 pulgadas)
- B: 1,0 mm (0,04 pulgadas)
